1. <fieldset></fieldset>

          1. <em id="Svkcvd"></em><ins id="Svkcvd"><dir></dir></ins>
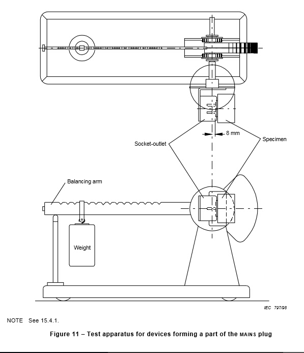
              1. plug torque test device of iec60065 figure 11

                Product Description:Name:plug torque test device of iec60065 figure 11Type:BND-CTLJStandards:BS1363.3,IEC60884,VDE0620,IEC60598,IEC60065 fig11ApplicationSocket-outlet Torque Balance Tester is used for test the torque strain exerted by the inputsocket-outlet and the devices with plug pins on output socketoutlets.The balancing arm of the test center lines of the contact tubes of the
                Description

                Product Description:

                Name:plug torque test device of iec60065 figure 11

                Type:BND-CTLJ

                Standards:BS1363.3,IEC60884,VDE0620,IEC60598,IEC60065 fig11


                Application

                Socket-outlet Torque Balance Tester is used for test the torque strain exerted by the input

                socket-outlet and the devices with plug pins on output socketoutlets.

                The balancing arm of the test center lines of the contact tubes of the

                socket-outlet at a distance of 8 mm behind the engagement face of the socket-outlet.

                With the engagement,the balancing arm is in equilibrium, the engagement face of the

                socket-outlet being in the vertical position.

                After the device has been engaged,the torque to be applied to the socket-outlet to maintain its engagement face in the vertical plane is determined by the position of a weight on the balance arm.

                Due to the different standards of different countries,the device are contained three socket clamps,If the needed clamps are more than 3 ,on request.

                In addition ,it includes a 5N weight and a 1N weight


                Type:

                weight

                2.5N*1, 1N*1

                Plug

                UL plug*1, European plug*1,all-purpose plug*1

                Conforms to standard

                IEC60884,VDE0620,IEC60598,IEC60065Fig11

                Arm of force

                0-200mm

                The distance from the contact surface and the Axis of the surface

                8mm


                2.jpg

                1.jpg

                3.jpg


                kgxgB
                  1. <fieldset></fieldset>

                        1. <em id="Svkcvd"></em><ins id="Svkcvd"><dir></dir></ins>